PART 8
Behavioral_Synthesis
- Description style
- Hardware style
- Coding style
Behavioral_synthesis.style
Description style:
- State diagram style
- Program for each state
- Programs specify register transfers and arithmetic
- Bussing will be decided by synthesis tool
- Each program is sequential
- Can use a state diagram template
- Customize each state program
Behavioral_synthesis.style
Generated hardware contains a logical unit and an array of registers
State register is handled like any other register
Clocking influences registers only
Number of states depends on state assignment
Behavioral_synthesis.style
ARCHITECTURE synthesizable ...
state and register
declarations
BEGIN
clocking : PROCESS ( clk, ... )
BEGIN
clocked next to present transfers
for registers and states
END PROCESS, clocking;
- -
sequencing : PROCESS ( all present values and inputs )
BEGIN
assigning combinational values
setting present values with next
CASE present_state IS
WHEN state_i =>
sequential program i
conditionally set next values
use present values for conditions
conditionally set next state
WHEN state_j =>
...
END CASE
END PROCESS;
END synthesizable;
In declarations, next and present signals are declared for all registers
Clocking process uses clock to transfer next to present values
Sequencing process contains sequential programs for each state
Behavioral_synthesis.parwan.packages
LIBRARY IEEE;
USE IEEE.std_logic_1164.ALL;
--
PACKAGE synthesis_parameters IS
CONSTANT single_byte_instructions : std_logic_vector (3 DOWNTO 0) := "1110";
CONSTANT cla : std_logic_vector (3 DOWNTO 0) := "0001";
CONSTANT cma : std_logic_vector (3 DOWNTO 0) := "0010";
CONSTANT cmc : std_logic_vector (3 DOWNTO 0) := "0100";
CONSTANT asl : std_logic_vector (3 DOWNTO 0) := "1000";
CONSTANT asr : std_logic_vector (3 DOWNTO 0) := "1001";
CONSTANT jsr : std_logic_vector (2 DOWNTO 0) := "110";
CONSTANT bra : std_logic_vector (3 DOWNTO 0) := "1111";
CONSTANT indirect : std_logic := '1';
CONSTANT jmp : std_logic_vector (2 DOWNTO 0) := "100";
CONSTANT sta : std_logic_vector (2 DOWNTO 0) := "101";
CONSTANT lda : std_logic_vector (2 DOWNTO 0) := "000";
CONSTANT ann : std_logic_vector (2 DOWNTO 0) := "001";
CONSTANT add : std_logic_vector (2 DOWNTO 0) := "010";
CONSTANT sbb : std_logic_vector (2 DOWNTO 0) := "011";
CONSTANT jsr_or_bra : std_logic_vector (1 DOWNTO 0) := "11";
--
CONSTANT zero_12 : std_logic_vector (11 DOWNTO 0) := "000000000000";
CONSTANT zero_8 : std_logic_vector (7 DOWNTO 0) := "00000000";
END synthesis_parameters;
Parwan synthesizable description uses synthesizable_package
Constants used for readability of code
Use the std_logic_1164 mvl9
Behavioral_synthesis.parwan.packages
LIBRARY IEEE;
USE IEEE.std_logic_1164.ALL;
--
PACKAGE synthesis_utilities IS
FUNCTION all_or (v : std_logic_vector) RETURN std_logic;
FUNCTION addsub_cv (a, b : std_logic_vector; cin : std_logic; add_sub : std_logic)
RETURN std_logic_vector;
SUBTYPE nibble IS std_logic_vector (3 DOWNTO 0);
SUBTYPE byte IS std_logic_vector (7 DOWNTO 0);
SUBTYPE twelve IS std_logic_vector (11 DOWNTO 0);
END synthesis_utilities;
--
Parwan synthesizable_utilities include functions and type declarations
all_or and addsub_cv bodies are in the package body
Behavioral_synthesis.parwan.packages
FUNCTION all_or (v : std_logic_vector) RETURN std_logic IS
VARIABLE temp : std_logic;
BEGIN
temp := '0';
FOR i IN v'RANGE LOOP
temp := temp OR v(i);
END LOOP;
RETURN temp;
END all_or;
all_or ORes all its input bits
Implies a multi_input OR gate
Used for checking zero result
Behavioral_synthesis.parwan.packages
FUNCTION addsub_cv
(a, b : std_logic_vector; cin : std_logic; add_sub : std_logic)
RETURN std_logic_vector IS
--for adding add_sub is 0, for subtracting add_sub is 1
--left bits of a and b are sign bit
VARIABLE r: std_logic_vector (a'LEFT + 2 DOWNTO 0); --temp result
-- Left two bits of r are for v and c respectively
VARIABLE c: std_logic_vector (a'LEFT DOWNTO 0); --intermediate carry
VARIABLE a_sign, b_sign: std_logic; --sign bits of a and b
VARIABLE cin_signed : std_logic; --complement cin for sub
VARIABLE b_signed : std_logic_vector (b'RANGE); --complement b for sub
BEGIN
cin_signed := cin XOR add_sub;
FOR i IN b'RANGE LOOP
b_signed (i) := b(i) XOR add_sub;
END LOOP;
a_sign := a(a'LEFT); b_sign := b_signed(b'LEFT);
r(0) := a(0) XOR b_signed(0) XOR cin_signed;
c(0) := ((a(0)XOR b_signed(0))AND cin_signed)OR (a(0) AND b_signed(0));
FOR i IN 1 TO (a'LEFT) LOOP
r(i) := a(i) XOR b_signed(i) XOR c(i-1);
c(i) := ((a(i) XOR b_signed(i)) AND c(i-1)) OR (a(i) AND b_signed(i));
END LOOP;
r(a'LEFT+1) := c(a'LEFT);
IF a_sign = b_sign AND r(a'LEFT) /= a_sign
THEN r(a'LEFT+2) := '1'; --overflow
ELSE r(a'LEFT+2) := '0'; END IF;
RETURN r;
END addsub_cv;
END synthesis_utilities;
addsub_cv adds or subtracts
MSB bits are v and c bits
Combined add_sub helps resource sharing
Behavioral_synthesis.parwan.interface
LIBRARY IEEE;
USE IEEE.std_logic_1164.ALL;
--
LIBRARY EXEMPLAR;
USE EXEMPLAR.exemplar_1164.ALL;
--
USE WORK.synthesis_parameters.ALL;
USE WORK.synthesis_utilities.ALL;
--
ENTITY par_central_processing_unit IS
PORT (clk : IN std_logic;
interrupt : IN std_logic;
read_mem, write_mem : OUT std_logic;
databus : INOUT std_logic_vector (7 DOWNTO 0);
adbus : OUT std_logic_vector (11 DOWNTO 0)
);
END par_central_processing_unit;
Interface and libraries for synthesizable Parwan
std_logic is resolved signal
databus is INOUT to be driver by the CPU or the memory
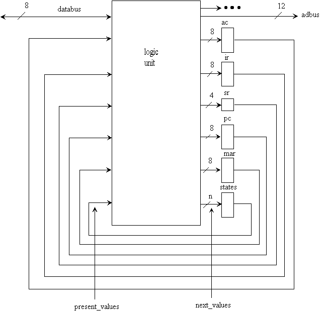
Behavioral_synthesis.parwan.general_layout
ARCHITECTURE behavioral_synthesizable
Declarations:
ac, ir, ..., states
BEGIN
Clocking process
Sequencing : PROCESS
CASE present_state
.
.
.
END CASE
END behavioral_synthesizable;
Declare registers and states
Update registers in clocking PROCESS
Condition on present_state perform register and arithmetic operations
Behavioral_synthesis.parwan.registers
SIGNAL ac, next_ac, ir, next_ir : std_logic_vector (7 DOWNTO 0);
SIGNAL sr, next_sr : std_logic_vector (3 DOWNTO 0);
SIGNAL pc, next_pc, mar, next_mar : std_logic_vector (11 DOWNTO 0);
TYPE cpu_states IS (initial, instr_fetch, do_one_bytes, opnd_fetch,
do_indirect, do_two_bytes, do_jsr, continue_jsr,
do_branch);
SIGNAL present_state, next_state : cpu_states;
Declarations include present & next for all registers and states
No buses are declared
There are 9 CPU states
Use CPU_states enumeration type for the states of Parwan
Behavioral_synthesis.parwan.clocking
clocking : PROCESS (clk, interrupt)
BEGIN
IF (interrupt = '1') THEN
present_state <= initial;
ac <= zero_8;
ir <= zero_8;
sr <= "0000";
pc <= zero_12;
mar <= zero_12;
ELSIF clk'EVENT AND clk = '0' THEN
ac <= next_ac;
ir <= next_ir;
sr <= next_sr;
pc <= next_pc;
mar <= next_mar;
present_state <= next_state;
END IF;
END PROCESS clocking;
Register present states must receive values in all cases
Clock condition must be the last condition
Resetting is done synchronously
On falling edge of clock all next values are transferred to present
Behavioral_synthesis.parwan.sequencing
sequencing : PROCESS ( present_state, interrupt, databus, ac, ir, sr, pc, mar )
VARIABLE ten_bit : std_logic_vector (9 DOWNTO 0);
BEGIN
next_pc <= pc;
databus <= "ZZZZZZZZ";
adbus <= "ZZZZZZZZZZZZ";
read_mem <= '0';
write_mem <= '0';
next_ir <= ir;
next_ac <= ac;
next_mar <= mar;
next_sr <= sr;
Sequencing represents a combinational circuit
All next values retain values in process
Retaining implies latching
To avoid latching, set initial values to all next states
Behavioral_synthesis.parwan.sequencing
CASE present_state IS
WHEN initial =>
...
WHEN instr_fetch =>
...
WHEN do_one_bytes =>
...
END CASE;
The sequencing PROCESS contains a CASE statement
Choices separate CPU states
Behavioral_synthesis.parwan.sequencing
WHEN initial => -------------------------------------------1
IF (interrupt = '1') THEN
next_pc <= zero_12;
next_state <= initial;
ELSE
next_mar <= pc;
next_state <= instr_fetch;
END IF;
WHEN instr_fetch => ---------------------------------------2
adbus <= mar;
read_mem <= '1';
next_ir <= databus;
next_pc <= pc + "01";
next_state <= do_one_bytes;
Programs for initial and instr_fetch
No internal bussing is specified
Behavioral_synthesis.parwan.sequencing
WHEN do_one_bytes => --------------------------------------3
next_mar <= pc; -- prepare for next memory read
IF (ir(7 DOWNTO 4) /= single_byte_instructions) THEN
next_state <= opnd_fetch;
ELSE
CASE ir(3 DOWNTO 0) IS
WHEN cla =>
next_ac <= zero_8;
WHEN cma =>
next_sr(0) <= ac(7); --n flag
next_sr(1) <= NOT all_or (NOT ac); --z
next_ac <= NOT ac;
WHEN cmc =>
next_sr(2) <= NOT sr(2); --c flag
WHEN asl =>
next_sr(0) <= ac(6); --n
next_sr(1) <= NOT all_or (ac(6 DOWNTO 0)); --z
next_sr(2) <= ac(7); --c
next_sr(3) <= ac(6) XOR ac(7); --v
next_ac <= ac (6 DOWNTO 0) & '0';
WHEN asr =>
next_sr(0) <= ac(7); --n
next_sr(1) <= NOT all_or (ac(7 DOWNTO 1)); --z
next_ac <= ac (7) & ac (7 DOWNTO 1);
WHEN OTHERS => NULL;
END CASE;
next_state <= instr_fetch;
END IF;
Program for do_one_bytes
A sequential program contains behavioral constructs
Each program sets next states
Behavioral_synthesis.parwan.sequencing
WHEN opnd_fetch => ----------------------------------------4
adbus <= mar;
read_mem <= '1';
next_mar(7 DOWNTO 0) <= databus;
IF ( ir(7 DOWNTO 6) /= jsr_or_bra ) THEN
next_mar(11 DOWNTO 8) <= ir(3 DOWNTO 0);
IF ( ir(4) = indirect ) THEN
next_state <= do_indirect;
ELSE
next_state <= do_two_bytes;
END IF;
ELSE --jsr or bra, do not alter mar page
IF ( ir(5) = '0' ) THEN -- jsr
next_state <= do_jsr;
ELSE
next_state <= do_branch;
END IF;
END IF;
next_pc <= pc + "01";
Assignment to adbus and registers are done in each program
Use pc + "01", + is overloaded for std_logic
Behavioral_synthesis.parwan.sequencing
WHEN do_indirect => ---------------------------------------5
adbus <= mar;
read_mem <= '1';
next_mar(7 DOWNTO 0) <= databus;
next_state <= do_two_bytes;
Program to handle indirect
Can easily be extended for indexed or other modes
Behavioral_synthesis.parwan.sequencing
WHEN do_two_bytes => --------------------------------------6
IF ( ir(7 DOWNTO 5) = jmp ) THEN
next_pc <= mar;
next_state <= instr_fetch;
ELSIF ( ir(7 DOWNTO 5) = sta ) THEN
adbus <= mar;
databus <= ac;
write_mem <= '1';
next_state <= initial;
ELSIF ( ir(7) = '0' ) THEN ------ lda, and, add, sub
adbus <= mar;
read_mem <= '1';
IF ( ir(6) = '0' ) THEN ---- lda, and
IF ( ir(5) = '0' ) THEN -- lda
ten_bit := sr (3 DOWNTO 2) & databus; --
ELSE -- and
ten_bit := sr (3 DOWNTO 2) & ( ac AND databus ); --
END IF;
ELSE ---- add, sub
ten_bit := addsub_cv (ac, databus, sr(2), ir(5));
END IF;
next_sr(0) <= ten_bit (7); --n
next_sr(1) <= NOT all_or ( ten_bit(7 DOWNTO 0) ); --z
next_sr(2) <= ten_bit (8); --c
next_sr(3) <= ten_bit (9); --v
next_ac <= ten_bit (7 DOWNTO 0);
next_state <= initial;
ELSE
next_state <= initial; --never happens
END IF;
Program for doing two byte instructions
Think sequentially in each state
Multiplex various operation results on ten_bit variable
Behavioral_synthesis.Parwan.sequencing
WHEN do_jsr => --------------------------------------------7
adbus <= mar;
databus <= pc (7 DOWNTO 0);
write_mem <= '1';
next_pc <= mar;
next_state <= continue_jsr;
WHEN continue_jsr => --------------------------------------8
next_pc <= pc + "01";
next_state <= initial;
WHEN do_branch => -----------------------------------------9
IF ( all_or (sr AND ir(3 DOWNTO 0)) = '1') THEN
next_pc <= mar;
END IF;
next_state <= initial;
END CASE;
Last three state programs for do_jsr, continue_jsr and do_branch
This ends all state programs
Behavioral_synthesis.Parwan.Parwan
LIBRARY IEEE; USE IEEE.std_logic_1164.ALL;
--
LIBRARY EXEMPLAR; USE EXEMPLAR.exemplar_1164.ALL;
--
USE WORK.synthesis_parameters.ALL; USE WORK.synthesis_utilities.ALL;
--
ENTITY par_central_processing_unit IS
PORT (clk : IN std_logic; interrupt : IN std_logic;
read_mem, write_mem : OUT std_logic;
databus : INOUT std_logic_vector (7 DOWNTO 0);
adbus : OUT std_logic_vector (11 DOWNTO 0) );
END par_central_processing_unit;
--
ARCHITECTURE behavioral_synthesizable OF par_central_processing_unit IS
SIGNAL ac, next_ac, ir, next_ir : std_logic_vector (7 DOWNTO 0);
SIGNAL sr, next_sr : std_logic_vector (3 DOWNTO 0);
SIGNAL pc, next_pc, mar, next_mar : std_logic_vector (11 DOWNTO 0);
TYPE cpu_states IS (initial, instr_fetch, do_one_bytes, opnd_fetch,
do_indirect, do_two_bytes, do_jsr, continue_jsr,
do_branch);
SIGNAL present_state, next_state : cpu_states;
BEGIN
clocking : PROCESS (clk, interrupt)
BEGIN
IF (interrupt = '1') THEN
present_state <= initial; ac <= zero_8; ir <= zero_8; sr <= "0000"; pc <= zero_12; mar <= zero_12;
ELSIF clk'EVENT AND clk = '0' THEN
ac <= next_ac; ir <= next_ir; sr <= next_sr; pc <= next_pc; mar <= next_mar; present_state <= next_state;
END IF;
END PROCESS clocking;
--
sequencing : PROCESS ( present_state, interrupt, databus, ac, ir, sr, pc, mar )
VARIABLE ten_bit : std_logic_vector (9 DOWNTO 0);
BEGIN
next_pc <= pc;
databus <= "ZZZZZZZZ"; adbus <= "ZZZZZZZZZZZZ";
read_mem <= '0'; write_mem <= '0'; next_ir <= ir; next_ac <= ac; next_mar <= mar; next_sr <= sr;
ten_bit := "0000000000";
CASE present_state IS
WHEN initial => -------------------------------------------1
IF (interrupt = '1') THEN
next_pc <= zero_12; next_state <= initial;
ELSE
next_mar <= pc;
next_state <= instr_fetch;
END IF;
WHEN instr_fetch => ---------------------------------------2
adbus <= mar; read_mem <= '1'; next_ir <= databus; next_pc <= pc + "01"; next_state <= do_one_bytes;
WHEN do_one_bytes => --------------------------------------3
next_mar <= pc; -- prepare for next memory read
IF (ir(7 DOWNTO 4) /= single_byte_instructions) THEN
next_state <= opnd_fetch;
ELSE
CASE ir(3 DOWNTO 0) IS
WHEN cla =>
next_ac <= zero_8;
WHEN cma =>
next_sr(0) <= ac(7); --n flag
next_sr(1) <= NOT all_or (NOT ac); --z
next_ac <= NOT ac;
WHEN cmc =>
next_sr(2) <= NOT sr(2); --c flag
WHEN asl =>
next_sr(0) <= ac(6); --n
next_sr(1) <= NOT all_or (ac(6 DOWNTO 0)); --z
next_sr(2) <= ac(7); --c
next_sr(3) <= ac(6) XOR ac(7); --v
next_ac <= ac (6 DOWNTO 0) & '0';
WHEN asr =>
next_sr(0) <= ac(7); --n
next_sr(1) <= NOT all_or (ac(7 DOWNTO 1)); --z
next_ac <= ac (7) & ac (7 DOWNTO 1);
WHEN OTHERS => NULL;
END CASE;
next_state <= instr_fetch;
END IF;
Complete Parwan description
Part 1/2
Behavioral_synthesis.Parwan.Parwan
WHEN opnd_fetch => ----------------------------------------4
adbus <= mar;
read_mem <= '1';
next_mar(7 DOWNTO 0) <= databus;
IF ( ir(7 DOWNTO 6) /= jsr_or_bra ) THEN
next_mar(11 DOWNTO 8) <= ir(3 DOWNTO 0);
IF ( ir(4) = indirect ) THEN
next_state <= do_indirect;
ELSE
next_state <= do_two_bytes;
END IF;
ELSE --jsr or bra, do not alter mar page
IF ( ir(5) = '0' ) THEN -- jsr
next_state <= do_jsr;
ELSE
next_state <= do_branch;
END IF;
END IF;
next_pc <= pc + "01";
WHEN do_indirect => ---------------------------------------5
adbus <= mar;
read_mem <= '1';
next_mar(7 DOWNTO 0) <= databus;
next_state <= do_two_bytes;
WHEN do_two_bytes => --------------------------------------6
IF ( ir(7 DOWNTO 5) = jmp ) THEN
next_pc <= mar;
next_state <= instr_fetch;
ELSIF ( ir(7 DOWNTO 5) = sta ) THEN
adbus <= mar;
databus <= ac;
write_mem <= '1';
next_state <= initial;
ELSIF ( ir(7) = '0' ) THEN ------ lda, and, add, sub
adbus <= mar;
read_mem <= '1';
IF ( ir(6) = '0' ) THEN ---- lda, and
IF ( ir(5) = '0' ) THEN -- lda
ten_bit := sr (3 DOWNTO 2) & databus; --
ELSE -- and
ten_bit := sr (3 DOWNTO 2) & ( ac AND databus ); --
END IF;
ELSE ---- add, sub
ten_bit := addsub_cv (ac, databus, sr(2), ir(5));
END IF;
next_sr(0) <= ten_bit (7); --n
next_sr(1) <= NOT all_or ( ten_bit(7 DOWNTO 0) ); --z
next_sr(2) <= ten_bit (8); --c
next_sr(3) <= ten_bit (9); --v
next_ac <= ten_bit (7 DOWNTO 0);
next_state <= initial;
ELSE
next_state <= initial; --never happens
END IF;
WHEN do_jsr => --------------------------------------------7
adbus <= mar;
databus <= pc (7 DOWNTO 0);
write_mem <= '1';
next_pc <= mar;
next_state <= continue_jsr;
WHEN continue_jsr => --------------------------------------8
next_pc <= pc + "01";
next_state <= initial;
WHEN do_branch => -----------------------------------------9
IF ( all_or (sr AND ir(3 DOWNTO 0)) = '1') THEN
next_pc <= mar;
END IF;
next_state <= initial;
END CASE;
END PROCESS;
END behavioral_synthesizable;
Complete Parwan description
Part 2/2
Behavioral_synthesis.Parwan.simulation_&_synthesis
Simulating Parwan in a simple testbench
Behavioral_synthesis.Parwan.simulation_&_synthesis
entity PARWAN is
port (
CLK, INTERRUPT : in std_logic ;
DATABUS_7, DATABUS_6, DATABUS_5, DATABUS_4, DATABUS_3, DATABUS_2,
DATABUS_1, DATABUS_0 : inout std_logic ;
READ_MEM, WRITE_MEM, ADBUS_11, ADBUS_10, ADBUS_9, ADBUS_8, ADBUS_7,
ADBUS_6, ADBUS_5, ADBUS_4, ADBUS_3, ADBUS_2, ADBUS_1, ADBUS_0 : out
std_logic) ;
end PARWAN ;
architecture exemplar of PARWAN is
. . .
component FD2
port (CD, CP, D : in std_logic ; Q : inout std_logic ; QN : out std_logic) ;
end component ;
. . .
g1342 : B4I port map ( Z=>vh_619, A=>vh_621);
g1343 : B4I port map ( Z=>vh_620, A=>vh_621);
g1344 : IVA port map ( Z=>vh_621, A=>vh_36);
vh_622 : FD2 port map ( CD=>vh_619, CP=>vh_38, D=>NEXT_STATE_0,
Q=>PRESENT_STATE_0, QN=>UPRESENT_STATE_0);
vh_623 : FD2 port map ( CD=>vh_619, CP=>vh_38, D=>NEXT_STATE_1,
Q=>PRESENT_STATE_1, QN=>UPRESENT_STATE_1);
vh_624 : FD2 port map ( CD=>vh_619, CP=>vh_38, D=>NEXT_STATE_2,
Q=>PRESENT_STATE_2, QN=>UPRESENT_STATE_2);
vh_625 : FD2 port map ( CD=>vh_619, CP=>vh_38, D=>NEXT_STATE_3,
Q=>PRESENT_STATE_3, QN=>OPEN);
vh_626 : FD2 port map ( CD=>vh_619, CP=>vh_38, D=>NEXT_MAR_11, Q=>MAR_11, QN=>UMAR_11);
vh_627 : FD2 port map ( CD=>vh_619, CP=>vh_38, D=>NEXT_MAR_10, Q=>MAR_10, QN=>UMAR_10);
vh_628 : FD2 port map ( CD=>vh_619, CP=>vh_38, D=>NEXT_MAR_9, Q=>MAR_9, QN=>UMAR_9);
vh_629 : FD2 port map ( CD=>vh_619, CP=>vh_38, D=>NEXT_MAR_8, Q=>MAR_8, QN=>UMAR_8);
vh_630 : FD2 port map ( CD=>vh_619, CP=>vh_38, D=>NEXT_MAR_7, Q=>MAR_7, QN=>UMAR_7);
vh_631 : FD2 port map ( CD=>vh_619, CP=>vh_38, D=>NEXT_MAR_6, Q=>MAR_6, QN=>UMAR_6);
vh_632 : FD2 port map ( CD=>vh_619, CP=>vh_38, D=>NEXT_MAR_5, Q=>MAR_5, QN=>UMAR_5);
vh_633 : FD2 port map ( CD=>vh_619, CP=>vh_38, D=>NEXT_MAR_4, Q=>MAR_4, QN=>UMAR_4);
. . .
Parwan uses 1309 LSI 10k library cells
Cells are basic gates, flip-flop and mux
VHDL was chosen for output format
Can use VHDL simulator to verify synthesized circuit
9 states are mapped to 4 state variables
Behavioral_synthesis.conclusions
1. Outline: Introduction, Organization, Outline
2. Review: Levels of abstraction, Entity and Architecture, Signal assignments, Guarded signal assignments, Three state bussing, Process statements, Combinational processes, Sequential processes, Multiplexing, Package
3. MSI Based Design: Use MSI parts of Part 2, Sequential multiplication, Designing the multiplier, Control and data parts, Testing the multiplier
4. General CPU Description: Will present a high level VHDL description of a small CPU. The CPU, Memory organization, Instructions, Addressing, Utilities for VHDL description, Interface, Behavioral description, Coding individual instructions
5. Manual Data_path Design: Will present VHDL description for manual design of data_path. Data components, Bussing structure, Description of logic, Description of registers, Bus resolutions, Component wiring
6. Manual Controller Design: Will present VHDL description for manual design of controller. Controller hardware, VHDL style, Signals and resolutions, State descriptions, Complete CPU, Testing CPU
7. Synthesis: Main concepts, Structural synthesis, Combinational circuits, Functional registers, State machines
9. Dataflow_Synthesis: Will partition the CPU and synthesize each part separately. Synthesis style, Controller, Data components, Data path, Synthesized example, Conclusions
to the top of the document